¹¦Ð§£º
×ÔÓúʽµÍѹ²¢ÁªµçÈÝÆ÷Ö÷ҪʹÓÃÔÚ¹¤ÆµÏµÍ³ÖУ¬£¬£¬£¬£¬£¬£¬£¬ÓÃÓÚÌá¸ßµçÁ¦ÏµÍ³µÄ¹¦ÂÊÒòÊý£¬£¬£¬£¬£¬£¬£¬£¬¸ÄÉÆµçÁ¦ÏµÍ³µÄµçÄÜÖÊÁ¿£¬£¬£¬£¬£¬£¬£¬£¬Ìá¸ß¹©µçϵͳµÄ¿É¿¿ÐÔ¡£¡£¡£¡£¡£¡£
Ó¦ÓùæÄ££º
Ó¦ÓÃÓÚ0.4kV¡¢50HzµÍѹÅäµçϵͳ¡£¡£¡£¡£¡£¡£
¶©»õ¹æ·¶£º
ÏêϸÐͺţºANBSBJ-0.45-20-3
ÊÖÒÕÒªÇ󣺹²²¹£¬£¬£¬£¬£¬£¬£¬£¬Ô²ÖùÐÎ
ͨѶÐÒ飺ÎÞ
¸¨ÖúµçÔ´£ºÎÞ
ÊÖÒÕ²ÎÊý
1£©×ÔÓúÐÔ£º²úÆ·¾ßÓÐÓÅÒìµÄ×ÔÓúÐÔÄÜ£¬£¬£¬£¬£¬£¬£¬£¬¼´ÔÚµç½éÖʾֲ¿»÷´©ºó£¬£¬£¬£¬£¬£¬£¬£¬ÄÜ×Ô¶¯Ñ¸ËÙ»Ö¸´Æä¾øÔµÐÔÄÜ¡£¡£¡£¡£¡£¡£
2£©¶î¶¨µçѹ£ºÈýÏà 450V¡¢480V¡¢525V£»£»£»£»£»£»·Ö²¹ 250V¡¢280V¡¢300V¡£¡£¡£¡£¡£¡£
3£©ÈÝÁ¿Îó²î£º²»Áè¼Ý¶î¶¨ÖµµÄ-5¡«+10%¡£¡£¡£¡£¡£¡£
4£©ÏûºÄ£ºÔÚ¹¤Æµ¶î¶¨µçѹÏ 20¡æÊ±£¬£¬£¬£¬£¬£¬£¬£¬ÏûºÄ½ÇÕýÇÐÖµ²»´óÓÚ 0.0015¡£¡£¡£¡£¡£¡£
5£©¹ýѹÄÜÁ¦£ºÔÊÐíÔÚ 1.1Un Ϻã¾ÃÔËÐС£¡£¡£¡£¡£¡£
6£©¹ýÁ÷ÄÜÁ¦£ºÔÊÐíÔÚ 1.3In Ϻã¾ÃÔËÐС£¡£¡£¡£¡£¡£
7£©ÄÍѹ£º¼«¶Ô¼«Ê©¼Ó 2.15Un£¬£¬£¬£¬£¬£¬£¬£¬2s ²»»÷´©£»£»£»£»£»£»¼«¶Ô¿ÇÊ©¼Ó AC3kV,10s ²»»÷´©¡£¡£¡£¡£¡£¡£
8£©ÄÚÖ÷ŵçµç×裺Ôڶϵçºó 3 ·ÖÖÓÄڿɽ«¶Ë×ÓÉϵĵçѹ½µµÍÖÁ 75V ÒÔÏ¡£¡£¡£¡£¡£¡£
9£©ÄÚÉè¹ýѹ¸ôÀë×°ÖãºÒ»µ©µçÈÝÆ÷·ºÆð¹ÊÕÏ£¬£¬£¬£¬£¬£¬£¬£¬ÄÚ²¿±¬·¢µÄ¹ýѹÁ¦½«Ê¹¸ôÀë×°ÖÃÐж¯£¬£¬£¬£¬£¬£¬£¬£¬´Ó¶ø×Ô¶¯ÇжϵçÔ´¡£¡£¡£¡£¡£¡£
Õý³£ÊÂÇéÌõ¼þ
1£©×°Öú£°Î£º¸ß¶È≤2000m¡£¡£¡£¡£¡£¡£
2£©×°ÖÃÇéÐΣºÎ¶È-25¡æ¡«+50¡æ¡£¡£¡£¡£¡£¡£
3£©×°Öó¡ºÏ£ºÎÞÇ¿ÁÒ»úеÕ𾪣¬£¬£¬£¬£¬£¬£¬£¬ÎÞÓк¦ÆøÌåºÍÕôÆû£¬£¬£¬£¬£¬£¬£¬£¬ÎÞµ¼µçÐԺͱ¬Õ¨ÐÔ»Ò³¾¡£¡£¡£¡£¡£¡£
4£©µçÈÝÆ÷ͶÈëÔËÐÐʱ£¬£¬£¬£¬£¬£¬£¬£¬±ØÐèÒÖÖÆºÏբʱӿÁ÷¾Þϸ£¬£¬£¬£¬£¬£¬£¬£¬Ó¦½ÓÄɾßÓÐÏÞÁ÷×°ÖõĵçÈÝÆ÷רÓýӴ¥Æ÷»òÔÚµçѹ¹ýÁãʱͶÈëµÄÎÞ´¥µã¿ª¹Ø£¬£¬£¬£¬£¬£¬£¬£¬Ò²¿ÉÒÔÔÚµçÈÝÆ÷ÉÏ´®Áª½ÓÈëÏÞÁ÷µç¿¹Æ÷£¬£¬£¬£¬£¬£¬£¬£¬ÒÔ×èÖ¹µçÈÝÆ÷µÄÔçÆÚË𻵣¬£¬£¬£¬£¬£¬£¬£¬Ó¿Á÷µÄ¾ÞϸӦÏÞÖÆÔÚ 100 ±¶¶î¶¨µçÁ÷ÒÔÄÚ¡£¡£¡£¡£¡£¡£
×ÔÓúʽ²¢ÁªµçÈÝÆ÷£¨·Ö²¹£©£¨Ô²ÖùÐΣ©
×ÔÓúʽ²¢ÁªµçÈÝÆ÷£¨¹²²¹£©£¨Ô²ÖùÐΣ©
×ÔÓúʽ²¢ÁªµçÈÝÆ÷£¨·Ö²¹£©£¨·½ÐΣ©
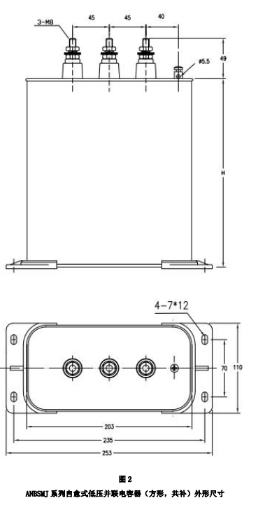
×ÔÓúʽ²¢ÁªµçÈÝÆ÷£¨¹²²¹£©£¨·½ÐΣ©
