¹¦Ð§£º
¸ÃϵÁм̵çÆ÷¿ÉÓëµÍѹ¶Ï·Æ÷»òµÍѹ½Ó´¥Æ÷µÈ×é³É×éºÏʽµÄÊ£ÓàµçÊ¢Ðж¯±£»£»£»£»£»£»¤Æ÷£¬£¬£¬£¬£¬£¬£¬Ö÷ÒªÊÊÓÃÓÚ½»Á÷50Hz£¬£¬£¬£¬£¬£¬£¬¶î¶¨µçѹΪ400V¼°ÒÔϵÄTT»òTNϵͳÅäµçÏß·£¬£¬£¬£¬£¬£¬£¬±ÜÃâ½ÓµØ¹ÊÕϵçÁ÷ÒýÆðµÄ×°±¸ºÍµçÆø»ðÔÖʹʣ¬£¬£¬£¬£¬£¬£¬Ò²¿ÉÓÃÓÚ¶ÔÈËÉí´¥µçΣÏÕÌṩ¼ä½Ó½Ó´¥±£»£»£»£»£»£»¤¡£¡£¡£¡£¡£¡£¡£¡£
Ó¦ÓùæÄ££º
ÐèÒª¼ì²âÊ£ÓàµçÁ÷£¬£¬£¬£¬£¬£¬£¬¶ÔµçÆøÏß·¾ÙÐнӵعÊÕϱ£»£»£»£»£»£»¤µÄ³¡ºÏ¡£¡£¡£¡£¡£¡£¡£¡£
¶©»õ¹æ·¶£º
ÏêϸÐͺţºASJ20-LD1C
ÊÖÒÕÒªÇ󣺶ʣÓàÐж¯µçÁ÷300mA£»£»£»£»£»£»¼«ÏÞ²»Çý¶¯Ðж¯Ê±¼ä0.5s£»£»£»£»£»£»ÉϵçÊÂÇéʱ¼ÌµçÆ÷Êä³ö1×é³£±Õ¡¢1×éת»»¡£¡£¡£¡£¡£¡£¡£¡£
ͨѶÐÒ飺ÎÞ
¸¨ÖúµçÔ´£ºAC220V
ÐÎ×´³ß´ç
½ÓÏß·½·¨
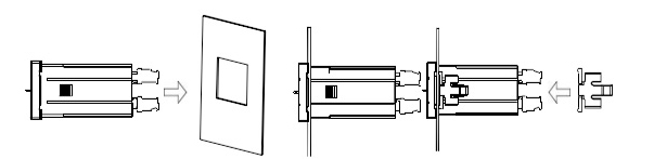
×°ÖÃʾÒâ
×°Ö÷½·¨ÎªÆÁװʽ£¬£¬£¬£¬£¬£¬£¬½ÓÄÉÁ½²à¿¨¿Û¼·Ñ¹Àο¿£¬£¬£¬£¬£¬£¬£¬Ïêϸ²Ù×÷ÈçÏ£º
1¡¢ÔÚÅäµçÅÌÉÏ£¬£¬£¬£¬£¬£¬£¬Ñ¡ÔñÊʺϵĵط½¿ªÒ»¸öÓëËù×°ÖÃÒÇ±í¿ª¿×³ß´çÏàͬµÄ×°Öÿף»£»£»£»£»£»
2¡¢È¡³öÊ£ÓàµçÁ÷¼ÌµçÆ÷£¬£¬£¬£¬£¬£¬£¬È¡ÏÂÀο¿¿¨¿Û£»£»£»£»£»£»
3¡¢°ÑÒDZí²åÈëÅäµçÅÌÒDZí¿×ÖУ¬£¬£¬£¬£¬£¬£¬²åÈëÒDZíºó£¬£¬£¬£¬£¬£¬£¬Óÿ¨¿ÛÀο¿×°Öᣡ£¡£¡£¡£¡£¡£¡£
ÏÖ³¡×°ÖÃͼ